Ankündigung

Einklappen
Keine Ankündigung bisher.

Impedanzkorrektur bei Satelliten

Einklappen
X
 
  • Filter
  • Zeit
  • Anzeigen
Alles löschen
neue Beiträge
  • X1/9
    Registrierter Benutzer
    • 05.05.2025
    • 12

    Impedanzkorrektur bei Satelliten

    Ist es sinnvoll eine Impedanzkorrektur nachzuschalten wenn vor einer Satellitenbox eine 100 Hz-Weiche installiert wurde?
    Dient diese Korrektur dazu, den Impedanzverlauf zu korrigieren welche diese 100 Hz-Weiche verursacht?
    Dann wäre doch die Imp.-Korrektur der 100 Hz-Weiche zugeschnitten und würde zu jeder 8 Ohm-Box passen, oder?
    Hab keine Ahnung, jemand von Euch bestimmt!
    Gruß Ralf
  • walwal
    Registrierter Benutzer
    • 08.01.2003
    • 28723

    #2
    Wenn die 100Hz-Weiche passiv ist, sollte sie die Impedanz korrigieren, aber nicht für jede Box passend. Verrate mal mehr.

    So sieht das bei mir aus:

    Klicke auf die Grafik für eine vergrößerte Ansicht

Name: hochpass.jpg
Ansichten: 324
Größe: 81,1 KB
ID: 729501
    „Audiophile verwenden ihre Geräte nicht, um Ihre Musik zu hören. Audiophile verwenden Ihre Musik, um ihre Geräte zu hören.“

    Alan Parsons

    Kommentar

    • X1/9
      Registrierter Benutzer
      • 05.05.2025
      • 12

      #3
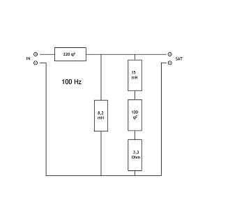
      Diese Weiche ist sehr wahrscheinlich für die ARIA (mit TI 100) bestimmt. Möchte sie aber für andere Boxen benutzen.

      Klicke auf die Grafik für eine vergrößerte Ansicht

Name: 100Hz.jpeg
Ansichten: 311
Größe: 37,0 KB
ID: 729504

      Kommentar

      • walwal
        Registrierter Benutzer
        • 08.01.2003
        • 28723

        #4
        Wesentlich für die Trennung sind die 220µF und etwa 4 mH, die anderen Teile sind für Imp-Korr und oder einen Bassbuckel zu mildern, das passt aber eher nicht für andere Tieftöner. Muss vieleicht gar nicht sein, aber dann müsste man das simulieren, wenn es Visaton-LS sind. Wenn nein, hilft nur probieren.

        Aber wenn es über einen AVR mit "small"-Einstellung betrieben wird, macht der das besser.

        „Audiophile verwenden ihre Geräte nicht, um Ihre Musik zu hören. Audiophile verwenden Ihre Musik, um ihre Geräte zu hören.“

        Alan Parsons

        Kommentar

        • X1/9
          Registrierter Benutzer
          • 05.05.2025
          • 12

          #5
          Demnach wurde diese Weiche für einen bestimmten Tief-/Mitteltöner (TI100 der ARIA?) konzipiert, könnte aber u.U. auch für andere Lautsprecher verwendet werden?!

          Vielen Dank für die Auskunft
          Gruß
          Ralf

          Kommentar

          • derjan
            Registrierter Benutzer
            • 17.11.2000
            • 1175

            #6
            So ein Impedanzkorrekturglied ist immer auf den konkreten Impedanzverlauf des jeweiligen Lautsprechers abgestimmt, maßgeblich also auf Frequenz und Höhe des/der Peaks. Und natürlich die Soll-Impedanz.

            Es ist nicht ausgeschlossen, dass ein IGL für den Lautsprecher A auch für Lautsprecher B passt. Wenn sowas passiert, handelt es sich aber um einen mehr oder weniger großen Zufall.

            Kommentar

            • X1/9
              Registrierter Benutzer
              • 05.05.2025
              • 12

              #7
              Hmm...sollte ich besser die Imp.-Korr. rausschmeißen??

              Kommentar

              • walwal
                Registrierter Benutzer
                • 08.01.2003
                • 28723

                #8
                Du sollst den AVR nutzen, der kann das besser. Du lässt den einmessen und schaltest dann auf "small", dann trennt er bei 80 Hz sauber in Bezug auf Phase und Pegel. Oder du trennst höher, wenn der AVR das zulässt.

                Wenn du aber unbedingt nicht willst, dann nimm nur die Weiche, also 220µF + 4 mH oder 8, das ist Lotto, weil das je nach Chassis völlig daneben sein kann.
                „Audiophile verwenden ihre Geräte nicht, um Ihre Musik zu hören. Audiophile verwenden Ihre Musik, um ihre Geräte zu hören.“

                Alan Parsons

                Kommentar

                Lädt...
                X