Ankündigung

Einklappen
Keine Ankündigung bisher.

5.1 Umschalter für 2 Verstärker

Einklappen
X
 
  • Filter
  • Zeit
  • Anzeigen
Alles löschen
neue Beiträge
  • LeahpaR
    Registrierter Benutzer
    • 10.05.2014
    • 185

    #16
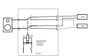
    Die Diode ist eine LED und zeigt an, ob Spannung anliegt oder nicht bzw. ob das Relais angezogen hat.
    Der Vorwiderstand ist für die LED, weil Diese nur ca. 2V aushält und mit 12V den Abgang macht.
    Ich würde noch zur Spule eine Freilaufdiode dazu schalten. Diese wird "antiparallel" zur Spule/Betriebsspannung angeschlossen.

    Pin 5 und 6 kommen zur Box. Pin 1>5 und 2>6 sind in Ruhezustand geschlossen. Pin 3>5 und Pin 4>6 sind geöffnet.
    Zuletzt geändert von LeahpaR; 04.02.2026, 15:35.

    Kommentar

    • Eddie
      Registrierter Benutzer
      • 25.06.2011
      • 518

      #17
      Ja, das meine ich mit Diode zwischen Pin 7 und 8, als Schutz vor Spannungsspitzen. Der Typ 1N4007 wurde da genannt.

      Kommentar

      • LeahpaR
        Registrierter Benutzer
        • 10.05.2014
        • 185

        #18
        Zitat von Eddie Beitrag anzeigen
        als Schutz vor Spannungsspitzen. Der Typ 1N4007 wurde da genannt.
        Dieser Typ eignet sich dafür gut. Die Spannungsspitzen kommen von der Spule, die beim Ausschalten eine Selbstinduktion macht. Daher kommt die Spannungsspitze und würde wahrscheinlich den Schalter zum Relais-Ein/Aus schalten irgendwann beschädigen.

        Kommentar

        • Eddie
          Registrierter Benutzer
          • 25.06.2011
          • 518

          #19
          Habe die Sachen jetzt mal bestellt. Für die Relais, Dioden, Umschalter, Lautsprecherklemmen und Kleinkram liege ich jetzt bei etwas über 100 EUR.

          Kommentar

          • Eddie
            Registrierter Benutzer
            • 25.06.2011
            • 518

            #20
            Zitat von LeahpaR Beitrag anzeigen
            Die Diode ist eine LED und zeigt an, ob Spannung anliegt oder nicht bzw. ob das Relais angezogen hat.
            Der Vorwiderstand ist für die LED, weil Diese nur ca. 2V aushält und mit 12V den Abgang macht.
            Du hast Recht. Jetzt sehe ich das auch. Ist ja nicht so, dass da sogar Green Light dran steht.

            Kommentar

            • LeahpaR
              Registrierter Benutzer
              • 10.05.2014
              • 185

              #21
              Zitat von Eddie Beitrag anzeigen
              Habe die Sachen jetzt mal bestellt. Für die Relais, Dioden, Umschalter, Lautsprecherklemmen und Kleinkram liege ich jetzt bei etwas über 100 EUR.
              Das geht sogar noch. Das Ganze noch in ein Gehäuse und fertig ist der Umschalter.
              Zum Anschließen der Kabel am Relais, Kabelschuhe oder Aderendhülsen nehmen.

              Wieviel Leistung bzw. Strom (A) hat das 12V Netzteil eigentlich? Hab kein Datenblatt zum Eigenverbrauch des Relais gefunden. Und Vergleichbare Relais als Vergleich genommen. Ich würde mal ganz grob ca. 0,1A bis 0,15A pro Relais als Verbrauch rechnen, im Vergleich mit Anderen 12V Relais.

              Kommentar

              • Eddie
                Registrierter Benutzer
                • 25.06.2011
                • 518

                #22
                Bei den 100 EUR wirds aber nicht bleiben, wenn man nicht rechnen kann. Hab leider nur 18 Lautsprecherklemmen bestellt, da 2x6 Eingänge und 6 Ausgänge. Leider habe ich + und - nicht berücksichtigt, so dass ich auf 36 Klemmen komme und nicht auf 18.
                Das wird von hinten hübsch hässlich aussehen.

                Das Netzteil hat 5A. Das sollte ausreichen. Angeblich braucht eine Spule grob 40mA. Bei 6 Relais wären das 240mA.

                Kommentar

                • Eddie
                  Registrierter Benutzer
                  • 25.06.2011
                  • 518

                  #23
                  Hm, vielleicht auch nicht: https://www.amazon.de/deleyCON-Multi.../dp/B0C5JMH9J4
                  Davon 3 Stück, das wäre sogar preislich ok.

                  Kommentar

                  • LeahpaR
                    Registrierter Benutzer
                    • 10.05.2014
                    • 185

                    #24
                    Klicke auf die Grafik für eine vergrößerte Ansicht  Name: Schaltplan.jpg Ansichten: 0 Größe: 59,7 KB ID: 734589
                    Sieht mal in Ordnung aus. Kenne die Klemmen. Am besten von einer Seite aus (Relais-Seite), auch mit Kabelschuhen anschliessen, sonst passt der Bananenstecker nicht ganz rein.
                    Angehängte Dateien
                    Zuletzt geändert von LeahpaR; 05.02.2026, 12:42.

                    Kommentar

                    • LeahpaR
                      Registrierter Benutzer
                      • 10.05.2014
                      • 185

                      #25
                      Klicke auf die Grafik für eine vergrößerte Ansicht

Name: Schaltplan.jpg
Ansichten: 42
Größe: 59,7 KB
ID: 734593
                      Angehängte Dateien

                      Kommentar

                      • Eddie
                        Registrierter Benutzer
                        • 25.06.2011
                        • 518

                        #26
                        Vielen Dank. Das müsste sogar ich nachbauen können.
                        Bis Samstag sollen alle Teile hier sein. Ich berichte dann, ob der Bau erfolgreich war.
                        Um ein Gehäuse habe ich mir noch keine Gedanken gemacht. Die Abmessungen hängen auch davon ab, ob die die Klemmen mit oder ohne Abdeckplatte einbaue. Und natürlich, wo ich den Umschalter hinstellen werde.

                        Gruß
                        Eddie

                        Kommentar

                        • LeahpaR
                          Registrierter Benutzer
                          • 10.05.2014
                          • 185

                          #27
                          Falls es Probleme gibt, Bescheid geben. Helfe gerne, wenn es nötig ist.
                          Gutes Gelingen.

                          Kommentar

                          • Eddie
                            Registrierter Benutzer
                            • 25.06.2011
                            • 518

                            #28
                            Danke für das Angebot. Ab dem 13.02. habe ich Urlaub. Ob ich dieses Wochenende schon dazu komme, weiß ich noch nicht.

                            Kommentar

                            • LeahpaR
                              Registrierter Benutzer
                              • 10.05.2014
                              • 185

                              #29
                              Zitat von Eddie Beitrag anzeigen
                              Ab dem 13.02. habe ich Urlaub. .
                              Ich hab ab dem 12.2. auch Urlaub. Unsere Firma macht über Fastnacht Betriebsurlaub.

                              Kommentar

                              • Eddie
                                Registrierter Benutzer
                                • 25.06.2011
                                • 518

                                #30
                                Damit hat mein Urlaub nichts zu tun. Hier sind Ferien.

                                Kommentar

                                Lädt...
                                X